“秒杀”是电商平台最典型的高并发促销场景,双十一等大促活动也常以秒杀能力作为数据库技术实力的标志。随着小红书电商业务快速增长,直播带货等爆品场景对极致下单速度的需求更加突出,希望将下单吞吐提升至 1W+/s。
基于 MySQL 内核实现的合并秒杀优化,相对排队秒杀方案,将秒杀写入能力再提升 5 倍,相对MySQL 社区版本,更有百倍的性能提升。在设计上保持了和排队秒杀一致的能力,该能力对业务完全透明:仅需升级 MySQL 内核,无需改动 SQL,即可获得 5 倍以上性能提升。
该方案不仅显著提升库存、优惠券、红包等高抢购场景的用户体验,也能在热门笔记点赞等高频写入场景实现数量级性能增强。
一、背景
24年小红书数据库团队首次通过对热点线程排队,将自研版本秒杀性能提升了10倍,但依然跟不上业务的快速发展。尤其是在直播带货、热门笔记点赞、爆品抢购等场景下,业务迫切需要更快的秒杀速度,本次数据库团队在自研内核上迭代实现了合并秒杀方案,将热点行更新速度提升5倍至1.5W/s+,极大提升了用户的使用体验。
二、收益概览
合并秒杀版本在方案设计时考虑了和排队版本的兼容性,内核会根据SQL自动选择最优的秒杀方案。对于热点SQL,内核会依据SQL自动选择合并秒杀、排队秒杀和普通更新的最优解,只需升级MySQL内核版本,无需业务侧修改SQL即可享受到5倍以上的性能提升。
从下面性能分析图可以看到,在128线程秒杀时,TPS从4276提升至23543,提升约5.5倍。在1024线程极端场景下,仍然有4.7倍性能提升。随着线程数的升高,线程切换的开销越来越大,TPS也逐步下降,因此建议线程数保持在128-256之间以获得最佳性能。

测试数据均为sysbench模拟标准库存扣减模型进行的压测数据。
三、热点瓶颈问题分析
首先对秒杀场景进行分析,抽象出了它的事务模型。下面所示为最经典的库存扣减模型:
begin;
insert into inventory_log value (...);
-- 插入库存修改的流水表
update inventory set quantity=quantity-1 where sku_id=? and quantity > 0;
-- 扣减库存表
commit;
随着并发数的增加,数据库的update写入性能急剧下降,最终基本处于不可用的状态(TPS约为100-200),出现非常严重的卡顿,下面将依次分析不同方案的性能瓶颈点和解决思路。
1、排队秒杀提升点
合并秒杀版本重点解决了性能下降问题,将秒杀性能维持在一个性能基本不变的状态。


2、合并秒杀提升点
再次分析上面的库存扣减模型,每个事务都是(begin;insert;update;commit)这种格式。那么insert是插入不同的行(主键不一样),所以可以并发,但是update是对同一行的改写,无法并发,红色的标识为临界区(行锁)。所以性能的瓶颈点在update同一行的修改上,秒杀V2将解决该瓶颈点。


3、方案总结
将上述方案的瓶颈点和解决思路整合如下对比所示,直观反映了各方案的优化思路。



四、整体设计
合并秒杀将多个事务 SQL 合并到一个事务进行提交,修改了MySQL的事务模型,必然涉及到MySQL事务系统、锁系统、Binlog系统等模块的修改。合并秒杀方案提供了如下优势:
生态组件无感知:将改动内容收敛到MySQL内核,输出的 Binlog内容和格式没有变化,对于DTS/Canel等组件无感知,避免了联动组件升级
内核升级无感知:不修改InnoDB格式,不影响版本兼容性和版本回退
业务SQL无修改:和排队秒杀版本SQL语法兼容,可以动态开关。业务/DBA可以随时将合并秒杀退化到排队秒杀,也可以随时开启。可以同时将合并秒杀,排队秒杀,无秒杀在一个数据库同时跑起来,减少业务迁移成本。

一句话总结本方案:合并秒杀通过Leader预读取库存数据写入缓存,在缓存中进行Follower库存数据合并扣减,最后Leader一次性将合并数据写入存储引擎,提升了写入性能
1、缓存可见性
为了合并秒杀,要解决如下两个问题:
1)数据可见性
为了解决以上问题,按照表维度添加了全局缓存,多个线程操作同一张表的结构体访问同一份缓存,缓存的生命周期和表结构是一样的,方便缓存管理。

2)数据一致性
解决了数据的可见性问题,剩下的核心点就是解决Leader-Follower的数据同步问题,保证数据的一致性。下面一张图系统的展示了一个Leader两个Follower线程是如何配合扣减三次的:
首先三个客户端发送了相同的update语句。经过了Queue PK,由于开启了合并秒杀,跳过了排队秒杀过程
三个线程开始抢独占锁,最先抢到的将自己标记为Leader,然后读取InnoDB数据和更新数据,将修改后的数据写入全局缓存。Leader做完了工作,释放独占锁,开始进入收集状态,等待若干毫秒
另外两个Follower开始抢独占锁。抢到的标记为Follower,然后将全局缓存数据写入线程缓存,然后更新线程缓存完成扣减,最后将线程缓存数据再写入全局缓存。释放独占锁,进入等待唤醒状态。在全局缓存中完成Follower的库存扣减
后面的线程依次进入Follower过程,按照读全局缓存->完成扣减->更新全局缓存的过程,依次执行了update语句扣减
Leader线程完成了收集,重新申请独占锁,将全局缓存数据作为本组最终扣减的值。开始进入2PC过程完成最终数据提交。Leader完成后会唤醒Follower,所有SQL结束

2、行锁极致优化
上面的过程看起来配合的非常好,是否还有优化空间?
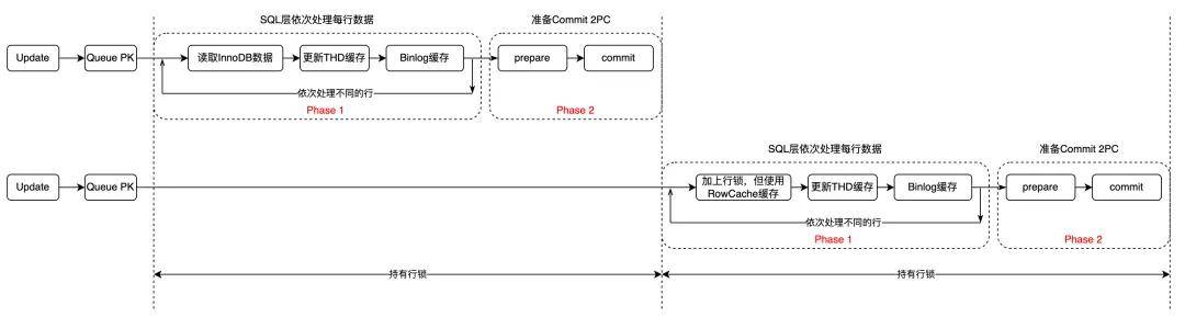
再次回到下面的这张图,将update分为两个步骤,一个是收集更新缓存阶段(phase 1),一个是commit阶段(phase 2)。

如果将多个组提交按照时间串起来,可以看到上一个组必须commit完释放了行锁,才能让下一个组重新申请行锁。如下图所示。所以整个流水线在组内是合并提交的,但是组和组之间是完全的串行。

如按照两个阶段分为两个组,那么在第一个组进行commit的时候,第二个组完全可以开始收集,无需等待第一组commit完成。这样整体的执行时间会进一步压缩。以两个组为例,第一个组从1000扣减50为950,那么在第一个组提交950的时候,第二个组可以从950开始扣减。
如下图所示,绿色部分就是节省的时间。

3、Binlog并行提交
整个组的Binlog是同一批由Leader统一提交。

4、Crash Recovery优化
Crash Recovery过程简单来说,先由Binlog生成一个事务集合,然后拿到Redolog进行对比,该提交就提交,该回滚就回滚。
合并秒杀是Leader提交Binlog,将整个组的Binlog都写入
Redolog记录的是合并前后的值(例如1000->900),但是binlog记录的是每个事务的改动(1000->999, 999->998)。所以要回滚Redolog的内容或者提交Redolog的内容,必须要求整个Binlog组的完整性


对于以上两种场景,Crash Recovery需要做好兼容处理。具体的思路如下:

以数据组为单位进行扣减数据的提交和回滚,相对事务粒度更大一些。
五、秒杀兼容性
正如上面所述,在内核中使用的Hint关键字如下:


作者介绍
张凡凡,小红书关系型数据库研发工程师,主要负责小红书关系型数据库内核研发。
韩明顺,小红书电商库存领域研发工程师,小红书热点抢购性能提升的发起者和推进者。
程明星,小红书关系型数据库DBA,主要负责小红书关系型数据库运维工作。
来源丨公众号:小红书技术REDtech(ID:gh_f510929429e3)
dbaplus社群欢迎广大技术人员投稿,投稿邮箱:editor@dbaplus.cn
如果字段的最大可能长度超过255字节,那么长度值可能…
只能说作者太用心了,优秀
感谢详解
一般干个7-8年(即30岁左右),能做到年入40w-50w;有…
230721